Monolitik SDH ADM Multiplex (RC7880A1)

RC7880A1, 24 E1'i çift STM-1 optik hat arayüzlerine multipleksleyen monolitik bir SDH Ekle/Bırak multiplekserdir. Birkaç harici bileşenle, STM-1 ADM ekipmanı gerçekleştirilebilir. RC7880A1, çeşitli iletim ağları kurmak için Müşteri Tesis Ekipmanı (CPE), Ekle-Bırak-Multiplexer (ADM) veya Çoklu Hizmet Erişim platformu ekipmanı (MSAP) olarak kullanılabilir.
RC7880A1, ITU-T G.707/ G.781/ G.783/ G.813/ G.703/ G.704/ G.664 serisi önerilerine uygundur. RAYCOM Technology tarafından geliştirilen RPD ve AIS+ patentli teknolojiyi benimser.
Monolitik SDH ADM Multiplex (RC7880A1) Teknik Özellikler
- Monolitik çip üzerinde STM-1 ADM optik iletim sistemini gerçekleştirin
- ADM/TM uygulaması için çift STM-1 hat arayüzlerini destekler.
- 24 E1 asenkron eşleme/eşleme kaldırma.
- Harici senkron ekipman saat arayüzü.
- Üst arayüz ve EOW ünitesi.
- TU-12/TU-3 alan bölmeli çapraz bağlantı.
- 64Kb/s tabanlı üst çapraz bağlantıyı destekler.
- E1/E3/Ethernet servis uzantısı için Çift Basitleştirilmiş Telekom veri yolu arayüzleri
- Donanım tabanlı SNC/I ve SNC/N korumasını destekler.
- Seçili SOH üst baytlarını (örneğin D1~D12/E1/E2/F1) taşıyan ve mevcut SDH ağlarından geçen yönetim tüneli olarak doğrudan STM-1 optik portlarına eşlenebilen XE1 arayüzlerine ulaşan çift G.704 E1 çerçeveleyicileri destekler.
- Gömülü E1 BERT, çevrimdışı test için PRBS jeneratörü/dedektör ve çevrimiçi test için G.704 CRC-4 dedektörü.
- LOHP Ünitesi
- STM-1 hat üstü işlemi için çift ünite.
- Optik A/B arayüzleri TU-12 veya TU-3 veya VC-4 yapısı olarak bağımsız olarak ayarlanabilir.
- Dahili 155,52 Mb/s CDR, LVDS TX&RX arayüzleri sağlar.
- AU-4 işaretçi işlemi.
- RSOH/MSOH/VC-4POH üst işlem.
- OOF, LOF, LOM, MS-AIS, AU-LOP, AU-AIS'yi izler.
- B1, B2, B3, M1, G1 üst işleminin bit veya blok hatalarını izler.
- J0(1/16Bytes), J1(16Bytes) iz tanımlayıcısını destekler.
- Otomatik Lazer Kapatmayı (ALS) destekler.
- Uzaktan Güç Kapatma Algılamasını (RPD) destekler.
- 155M giriş/çıkış portlarının noktasında dış ve iç döngü arka hat sinyalini destekler.
- CDR için 19,44MHz±20ppm referans saatine ihtiyaç duyar.
- EŞLEME Birimi
- Dahili Telekom veri yoluna/veri yolundan eş zamanlı olmayan 24 E1 eşleme/eşlemeyi kaldırmayı destekler.
- STB_G/STB_H ikili basitleştirilmiş Telekom veri yollarını destekler.
- Hem yol korumasını hem de korumasız yapılandırmayı destekler ve korumasız seçildiğinde kesitsel E1 bağlantısı mümkündür.
- TU-12 işaretçisi, TU12-LOP ve TU12-AIS alarmı izlenir.
- V5, J2 (16 bayt), N2, K4 ek yükü işler.
- V5 bayt ek yükünün BIP-2, REI ve RDI'sini işler.
- Her E1 için O-BIT (veya N2 bayt) ek yükünü kullanarak 32 bit (4 bayt kayıt) düşük bit hızı iletişim tüneli sağlar.
- #0 ila #62 aralığındaki STB-G veri yolu ve STB-H veri yolunun zaman aralıkları her E1'e esnek bir şekilde atanabilir.
- Donanım tabanlı koruma tesisi 50 ms'den daha kısa kurtarma süresine ulaşır.
- Koruma anahtarı, yapılandırmaya bağlı olarak TU-12 işaretçisi ve VC-12 kanalının alarmı tarafından tetiklenebilir.
- Hem HDB3 hem de NRZ kod türünü destekler. Dahili E1 saati ve veri kurtarma, basitleştirilmiş LIU'nun kullanılmasını sağlar.
- Her E1 için bir okunduktan sonra temizlenen CV algılama kaydı olan HDB3 kod ihlali (CV) algılamasını destekler.
- E1 içe ve dışa doğru döngü geri desteği (ve E1 döngü geri etkinleştirildiğinde AIS isteğe bağlı olarak aşağı akışa eklenir).
- Özel kodlanmış bir AIS sinyali olan AIS+'ı destekler.
- STBI Ünitesi
- E1/E3/Ethernet servis uzantısı için çift 38.88MHz basitleştirilmiş telekom veri yolu arayüzleri.
- Sabit çoklu çerçeve hizalamasıyla TU-12/TU-3 formatını destekler
- TUPP Ünitesi
- En fazla 126 TU-12 veya en fazla 6 TU-3 yapısı için
- TU-12 ve TU-3'ün karışık yapısını destekler
- TU12-LOP, TU12-AIS, TU3-LOP ve TU3-AIS alarmını izler
- TU-DXC Ünitesi
- 252X252 TU-12 alan bölmeli anahtarlama matrisi
- 12X12 TU-3 alan bölmeli anahtarlama matrisi
- İki tür bağlantı modunu destekler: ekleme/bırakma ve geçiş.
- SNC/I koruması için TU-12/TU-3 işaretçi durumunu izler
- TU-12/TU-3/VC-4 sinyal döngüsünü optik portlara doğru destekler.
- SEC ünitesi
- 155.52MHz, 38.88MHz, 8.192MHz ve 2.048MHz çıkış frekansına sahip dahili DPLL ve harici VCXO'yu kullanarak Senkron Ekipman Saati (SEC)'nin iyi kalitesini elde eder.
- Harici VCXO'yu LVDS arayüzüne bağlar.
- Serbest çalışma modunda SEC kalitesini belirleyen yüksek hassasiyetli 65.537MHz osilatöre ihtiyaç duyar.
- DPLL'nin varsayılan bant genişliği 9Hz'dir.
- Zamanlama kaynakları dört T1, bir T2 veya iki T3 referansı olabilir.
- T2 referansı 24 E1 giriş sinyalinden herhangi biri arasından seçilebilir.
- T3 referansı 2.048MHz veya 2.048Mb/s olabilir.
- T4 referans çıkışları 2.048MHz veya 2.048Mb/s olabilir.
- T1, T2, T3 ve T4 referansları için SSM'yi destekler.
- Üç çalışma modunu destekler: izleme, tutma ve serbest çalışma.
- ITU-T G.783 ve ITU-T G.813 önerilerine uygundur
- OHI Ünitesi
- Harici HDLC denetleyicisini bağlamak için iki adet 192Kb/s (576Kb/s) DCC arayüzü sağlar.
- 64 KHz'de asenkron örnekleme saatiyle F1 veya F2 ek kanalları sağlar.
- E1 tabanlı ağ yönetimi uzantısını desteklemek için E1/E2/F1/D1-D12 ek baytlarını taşıyan iki E1 arayüzünü (XE1) entegre eder.
- Bir ekipman içindeki birden fazla çip arasında üst bağlantı için 8.192 Mb/s üst veri yolu SO8M'yi destekler
- OH-DXC Ünitesi
- E1/E2/F1/F2/F3/D1~D12 üst veri yolunun iki STM-1 arayüzü ve diğer OHI arayüzleri arasında anahtarlanmasını sağlamak için 64 Kb/s tabanlı 256×256 blokajsız çapraz bağlantıları destekler.
- EOW Ünitesi
- Bir CODEC cihazına (A-law PCM kodlaması) doğrudan bağlanmak için 2.048 Mb/s PCM veri yolunu kullanır.
- Harici bir DTMF dedektörüne ihtiyaç duyar.
- Adres odaklı mühendislik sipariş teli, özel sinyalleme sistemi ve donanım anahtarlama tesisine dayanarak gerçekleştirilir. Yazılıma gerek yoktur
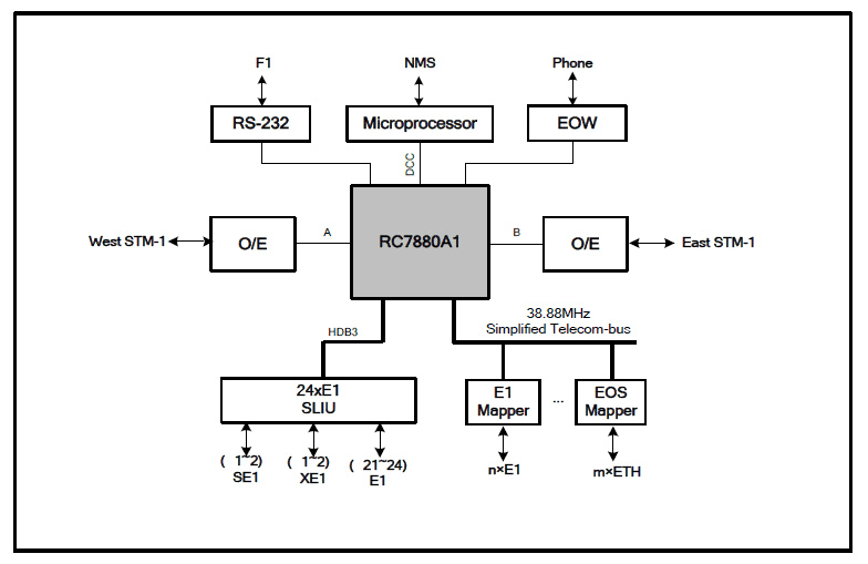
RC7880A1 Fonksiyonel Blok Diyagramı

Monolitik SDH ADM Multiplex (RC7880A1) Uygulama Yöntemi
- SDH ADM/TM Multiplexer
- SDH Müşteri Tesis Ekipmanları (CPE)
- MSAP Çoklu Hizmet Erişim Platformu Ekipmanları
